您好,欢迎访问湖北旗达石化设备有限公司官网!
过滤器,阻火器,呼吸阀,视镜,液位计【湖北旗达】
联系我们
公司地址: 武汉市东西湖区慈惠农场花园路8号
销售总机: 027-8538 5758
值班手机: 189 7116 3253
官方网站: www.qidash.com
企业邮箱 qida@qidash.com
产品详情
Y型过滤器、不锈钢Y型过滤器、Y型管道过滤器【湖北旗达】
简介:Y型过滤器是输送介质的管道系统不可缺少的一种设备。Y型过滤器通常安装在减压阀、泄压阀、定水位阀等水力控制阀或其它设备的进口端,用来清除介质中颗粒性杂质,免受因管道内杂质、铁锈、焊屑等带来的堵塞和损坏,从而避免了维修费用和生产损失,保护阀门等设备的正常使用。
Y型过滤器SY
   

法兰Y型过滤器

螺纹Y型过滤器

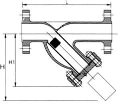
Y型过滤器结构图
 
       我公司生产的Y型过滤器过滤网采用不锈钢双层网结构,具有坚固耐用,结构先进、流阻小、清洗方便等特点。Y型过滤器可用于水、蒸气、油品、硝酸、尿素、氧化性介质等多种介质。当需要清洗时,只要将可拆卸的滤网取出,清洗后重新装入即可,因此Y型过滤器使用维护极为方便。
 
Y型过滤器参数材料表: 

壳体材质 PVC   PP   碳钢   黄铜  不锈钢   衬里
滤框滤网材质 不锈钢
密封件材质 耐油石棉橡胶、金属缠绕垫、聚四氟乙烯
工作温度(℃) -80~450
连接方式 法兰连接、对焊连接、螺纹连接  
公称压力(MPa 0.6~16.0  (150Lb~900Lb)
过滤精度(目/in 5~800
             
Y型过滤器表格计算单位:(mm)

 DN 25 32 40 50 80 100 150 200 250 300
SIZE 1” 1-1/4 1-1/2 2” 3” 4” 6” 8” 10 12
L 160 180 200 220 280 320 380 495 595 640
H 80 90 100 135 195 230 335 420 500 580
H1 160 180 240 250 390 450 580 690 800 950
 
订货须知
1、我厂承接各种非标尺寸Y型过滤器;
2、订货时请注明口径、材质、压力、过滤精度及数量等。

回到顶部